年終總結:第五批居家和社區養老服務改革試點驗收
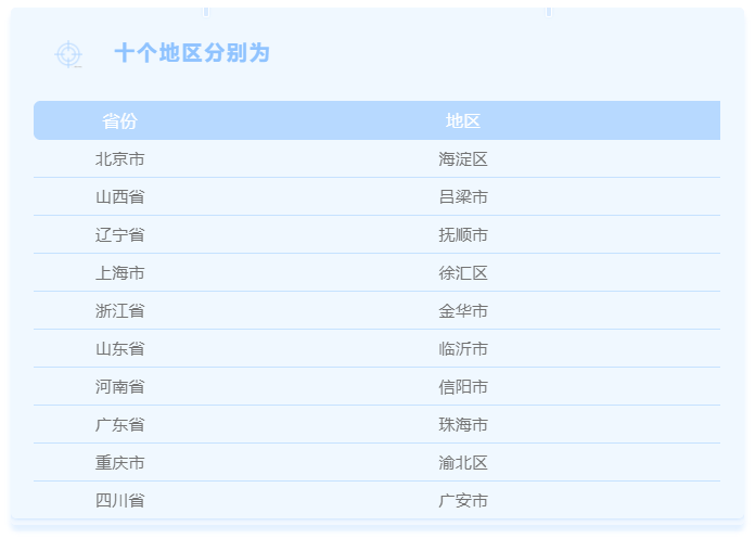
近日,民政部、財政部共同發布了《關于公布第五批居家和社區養老服務改革試點驗收結果的通知》,全國共59個試點地區參加評審驗收,26個試點地區得分90分以上,獲得“優秀”等次。按照優中選優原則,民政部、財政部將對10個試點地區給予專項獎勵。

北京市海淀區
通過強化設施供給、人才保障、社會參與、服務標準、科技支撐等方面內容,開展養老護理職業發展體系改革試點、鼓勵社會化連鎖化品牌化運營、建設養老服務大數據中心和智慧管理中心,促進養老服務信息數據融合;推進智慧養老設備用品的研發與應用;加強智慧養老院建設和“智慧養老社區”建設。
目前已初步形成了“周邊、身邊、床邊”的養老服務格局,建成了區級養老服務指導中心1家、養老機構(街鎮養老照料中心)63家、社區養老服務驛站97家,養老服務供給豐富多元,服務涵蓋文化娛樂、康復護理、精神慰藉、緊急救援等多個方面,老年人精神、物質需求得到充分滿足,幸福感、獲得感明顯提高。
上海市徐匯區
突出集成化,打造養老服務品牌;科技賦能,在多元化個性需求中做到精準匹配;政社合作,不斷引入社會力量參與到徐匯養老產業中來。
通過強服務,重實效,積極推進“醫養融合”;全力發展人工智能,探索智慧養老新范式”;“推進智慧健康養老,打造老年宜居社區”。
重慶市渝北區
聚焦居家社區養老服務改革發展中的短板和難點,突出需求導向,在基礎建設、農村養老、醫養結合、智慧養老等方面取得了行之有效的經驗。
加快打造一流社區居家養老服務設施,探索“互助+流動”農村養老服務新模式,切實用好用活公辦養老醫療資源,突破養老人才瓶頸,立足“一平臺兩中心”,激發智慧養老“乘數效應”,持續推進養老服務業健康發展。
目前,全區已有公辦、民辦養老機構42個,各類居家社區養老服務設施212個,初步形成了以居家為基礎、社區為依托、機構為補充、醫養相結合的多層次、多樣化的養老服務體系,在設施建設、人才培養、信息化建設、農村養老等多個方面居全市領先水平。
浙江省金華市
率先出臺《金華市區新建住宅小區配建居家養老服務用房建設、管理和移交暫行辦法》,打造市縣鄉村四級養老設施布局,擴大社區居家養老服務供給,有效提升了養老服務的便捷性和可及度。同時,深化“統分結合”居家養老服務模式,打造黨建引領的“紅色繡花針”社區居家養老服務品牌,推廣磐安縣山區特色醫養結合養老模式,有效提升老年人的居家養老生活質量。
截至目前,全市建成鄉鎮(街道)級示范型居家養老服務中心82家、村(社區)居家養老服務照料中心3006家、養老機構182家、醫養結合服務機構43家,整合閑置公共資產用房20處,織密為居家老人提供便捷服務的設施網絡。初步打造了生活照料舒心、健康養護省心、服務優質放心的新時代“三心養老,金華更好”養老服務品牌,增強了全市近108萬60周歲以上老人的獲得感、幸福感、安全感。
四川省廣安市
創新建立了“11333”居家和社區養老運營服務體系,即:有一個養老服務指導機構;發揮一個國有企業支撐作用,引導社會力量作為市場參與主體;建立街道綜合體、社區驛站、家庭適老化床位三層養老供給設施;健全市總部、縣(市、區)分(子)公司、鄉鎮點位三級養老服務網絡;實現老年人生命健康、生活便捷、身心愉悅三個目標,改革試點工作得到了民政部、財政部專家的高度肯定,取得了較好的效果。
山東省臨沂市
培育居家養老服務 社會力量參與“家庭養老”, 建立兜底服務制度 特困人員進行“動態管理”,推廣“互聯網+養老” 智慧養老“互聯互通”, 深化醫養融合發展 建立就診“綠色通道”, 推動標準化建設 第三方機構“質量監管”。
目前,全市共有各類養老服務設施958處,其中養老服務機構120處,含街道綜合養老服務中心22處,社區老年人日間照料中心125處,農村幸福院713處,養老服務信息平臺12處,以居家為基礎、社區為依托、機構為補充、醫養相結合的多層次、智能化養老服務體系基本建立。
悅享數字以“數據驅動健康 智慧賦能養老”為愿景,致力于推動養老行業數字化轉型。通過多年行業深耕,與多家知名養老服務企業達成長期合作,獨立研發的養老運營平臺、居家養老服務平臺、物聯網平臺、大數據平臺、移動APP等產品已經助力全國數十家養老機構創新服務運營,提升管理效率。
居家養老服務平臺能夠通過在線收集老人需求,進行訂單統一分派、執行與監督,實現服務資源共享,老人服務需求精準匹配。

在老人居家安全場景中,基于互聯網、物聯網、大數據等技術和平臺,運用可穿戴設備等移動采集終端,可對老年健康狀態的動態監測及安全事件的及時反饋處理,保障居家老人的安全與健康。





